

Konstsmide 7598-300 Modena Spot Adjustable Outdoor Wall Light / 1 x 7 W GU10 Max Wall Lamp / Clear Glass Lens / Aluminium / IP44 / Outside Light Grey
About this item
- power source type: Mains Voltage 230-240 V
Product description
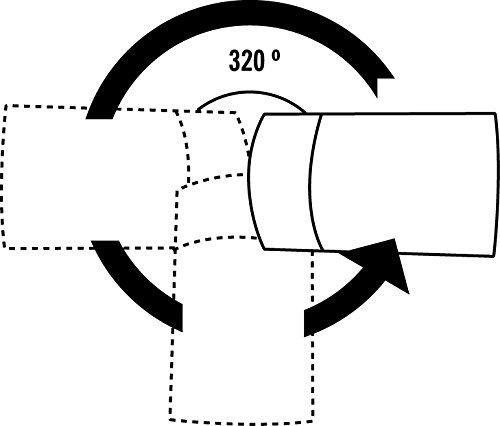
Product Description Konstsmide mains powered modern Modena adjustable spot outdoor wall light constructed from lacquered aluminium with a clear glass lens outside light. This Modena is a simple contemporary design, functional outdoor light, for those who dare to be a little different. Always with high class and quality. This wall mounted lantern brings a modern flair to your outside wall. This modern light is a wall mounted outside wall lamp and provides a warm light to otherwise dark areas. Outside wall lights are perfect for gardens, porches and entrances. Height 15cm, width 6cm, depth 9cm. This lacquered aluminium lantern is part of the Modena range and comes in many other styles and pathway lights too. Suitable for GU10 1 x 7 W bulbs (Not included). Can be used with energy saving GU10 style bulbs to make a LED light. Since the 1950s Konstsmide has been making outside lights. Our wall mounted lamps for outdoor use are easy to install and maintain high quality. They are designed to fit houses of all sizes. Let our outdoor wall lights shred light to the walls and entrances on houses and garages. Box Contains 1 x Light fitting;1 x Fixings;
Product details
Customer reviews
What customers say about Bigamart
10 Trustpilot reviews total, with 2 shown at a time.
I wrote to Bigamart's customer support and they accompanied the process of reshipping the item until it finally arrived. I felt a genuine effort to solve the problem till it was finally solved.
The package was here in Australia from England in a few days โ so quick! Something was missing and they refunded it straight away. Pretty happy with these guys.
You might also like
Similar items


WERISE 8W LED Wall Light Indoor, Modern Sconce Up and Down, Warm White Wall Wash Night Lamp for Bedroom Living Room Hallway Stairs

Eglo Indoor wall Light Barnstaple 1, lamp in Vintage, Industrial and Retro Design, Living Room and Hallway Lighting Fixture Made of Black Steel, Spotlight with E27 Socket

